喜报!球速(中国)14名教师成功入选2025年江苏省科技副总
- 时间:2025-10-10
- 点击:588
- 来源:科研与产业合作处
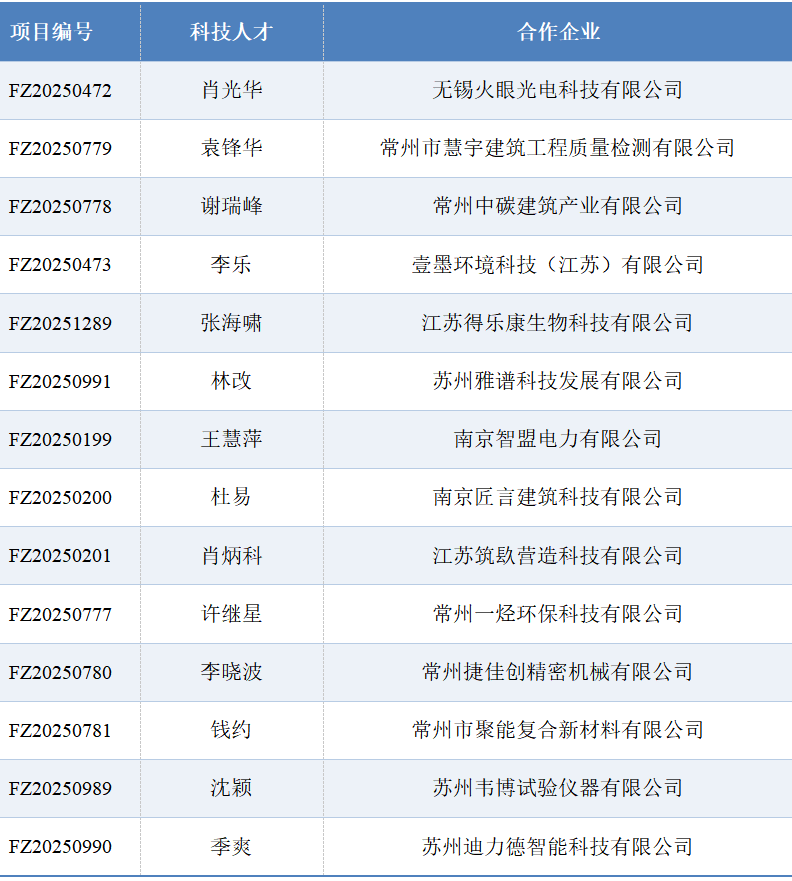
近日,江苏省科技厅下发《关于确定2025年江苏省科技副总选派名单的通知》(苏科区成发〔2025〕172号),球速(中国)14名教师成功入选省科技副总选派名单。
江苏省科技副总项目是省委人才办、省科技厅和省教育厅共同设立的人才项目,旨在鼓励支持全国高校院所科技人才到江苏企业兼任科技副总,扎实推动科技创新和产业创新深度融合,全力打造具有全球影响力的产业科技创新中心,加快成为发展新质生产力的重要阵地。
学校高度重视省科技副总选派工作,依据《江苏省科技副总选派工作实施办法》,组织科研骨干积极申报,举办申报辅导会,全程做好申报工作各环节的指导,确保“科技副总”申报工作高效完成,也为后续申报省科技厅产学研合作项目奠定坚实基础。截至目前,球速(中国)共有23名教师入选省科技副总。下一步,学校将坚持“有组织”科研,不断深化产学研合作,以企业需求为主导,引导更多科技人才服务企业创新发展,加速推动科技成果转移转化,为提高学校人才培养质量和服务区域经济社会发展注入强劲动能。(文、图/胡冬艳 复审/袁卫华 终审/张清波)
![]()
第一排左起:张海啸 沈颖 王慧萍 季爽 李晓波 李乐
第二排左起:肖炳科 杜易 林改 谢瑞峰 许继星 肖光华




